Bằng sáng chế này được đặt tên là “thiết bị điện tử với màn hình thu” và nó miêu tả một thiết bị với màn hình có thể cuộn lại dạng hình trụ. Zhen Zhang và Paul S. Drzaic là 2 nhà thiết kế của Apple phát minh ra bằng sáng chế này và đã nộp đơn xin cấp phép vào tháng 8/2015.

Bằng sáng chế này được đặt tên là “thiết bị điện tử với màn hình thu” (Ảnh: Elite Daily)

iPhone mới trong tương lai của Táo khuyết rất có thể sẽ cuộn được (Ảnh: Elite Daily)
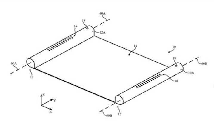
Phần mô tả của sáng chế cho thấy 2 thanh cuộn hình trụ dài ở hai bên cạnh màn hình. Ngoài ra, bạn có thể tìm thấy chipset, pin, loa, micro, máy ảnh và bất kỳ linh kiện điện tử nào khác được đóng gói trên thiết bị. Phần lõi của 2 thanh hình trụ rỗng để chứa con lăn và màn hình khi nó được thu lại.

Khi được cuộn lại, một thanh nam châm sẽ giữ cho 2 thanh hình trụ này không tách rời nhau (Ảnh: Elite Daily)
Tuy nhiên, rất khó để Apple hiện thực hóa ý tưởng này trong một tương lai gần. Vì hiện tại Apple đang tiến hành sản xuất sản xuất màn hình OLED linh hoạt, hiện tại chi phí khá cao và vẫn còn nhiều hạn chế.
Video: Xôn xao video iPhone 7 Plus bốc khói nghi ngút














Bình luận