Chiếc smartphone màn hình gập tiếp theo của Samsung có thể sẽ trở nên hoàn thiện hơn bao giờ hết, nhờ một thay đổi lớn ở phần bản lề. Theo báo cáo trên trang Naver của Hàn Quốc, Samsung có thể sẽ sử dụng bản lề kiểu “giọt nước”, tạo ra một đường cong nhẹ ở phần bản lề khi gập màn hình lại, nhờ đó sẽ không tạo ra nếp gấp như trước đây.
Mặc dù Samsung đã thực hiện nhiều cải tiến trên màn hình gập trong những năm gần đây, nhưng thực tế là người dùng vẫn có thể nhìn thấy phần nếp gấp mờ ở chính giữa màn hình. Galaxy Z Fold 4 và Galaxy Z Flip 4 đều sử dụng thiết kế bản lề hình chữ U, khiến cho nếp gấp vẫn có thể nhìn thấy và khiến người dùng không thoải mái.

Samsung Galaxy Z Fold 5 sẽ sở hữu màn hình không nếp gấp.
Tuy nhiên, một số smartphone màn hình gập khác trên thị trường hiện nay đã sử dụng kiểu bản lề giọt nước. Ví dụ như Oppo Find N2 hay Motorola Razr thế hệ thứ 3, giúp cho nếp gấp khó nhìn thấy hơn.
Theo Naver, Samsung đã được cấp bằng sáng chế cho bản lề giọt nước từ năm 2016. Thế nhưng không rõ vì sao Samsung lại không áp dụng trên những chiếc smartphone màn hình gập của mình cho đến tận bây giờ.

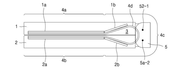
Bằng sáng chế bản lề giọt nước của Samsung.
SamMobile suy đoán rằng, có thể Samsung muốn đợi cho đến khi họ hoàn thiện công nghệ chống nước IPX8 cho màn hình gập của mình, lần đầu tiên được giới thiệu trên những chiếc smartphone màn hình gập của Samsung vào năm 2021. Điều đó có thể giúp cho những chiếc smartphone màn hình gập của Samsung nổi bật hơn so với Oppo hay Motorola, vì cả Oppo Find N2 và Motorola Razr đều không có khả năng chống nước.
Ngoài việc khiến cho nếp gấp biến mất, bản lề mới hứa hẹn sẽ giúp Galaxy Z Fold 5 có thể khép sát hai màn hình vào nhau hơn. Không giống như các thế hệ Galaxy Z Fold trước đây, thường để lại một khoảng trống nhỏ khi đóng màn hình lại. Dự kiến Galaxy Z Fold 5 có thể sẽ được ra mắt vào tháng 8 năm nay.


















Bình luận